Любим и раскрываем ММ и MI картриджи. Часть 1

Как я выше написал, что есть вероятная причина — окисление тут:

Разберу этот узел до конца и отмою, во-первых, а во-вторых, вторую аналогичную ГЗМ поставлю для проверки на другой шелл, для выяснения про источник наводок и про передачу механических воздействий в т.ч.

Спешить некуда, при воспроизведении это никак не проявляется, только лишь при прикосновении… и весьма негромко.

1 лайк

Добавлю еще один хинт любви и раскрытия ММ АТ.

Их старшие модели с металлическими корпусами довольно увесистые. Если вдруг итоговый резонанс получается слишком низким и возникает потребность уменьшить эффективную массу, можно воспользоваться таким приемом.
Отклеить табличку, вывинтить находящийся под ней винт, отделить металлическую подошву, и заменить ее на более легкую, от дешевой модели типа АТ-100. Таким образом можно сэкономить около 2,5 граммов.
Различие в звучании между металлической и пластиковой подошвами оставим за скобками )

изображение

изображение

изображение

9 лайков

Защитную скобку наверное тоже можно снять?

Да, но это уже совсем копейки по весу.

Простите за назойливость . Про МР вопросов не осталось ?

У меня нет, мало того, у меня их и не было.
Я всё разложил выше последовательно с цитатами, ссылками и даже картинками.
Кстати, не только я.

И, повторюсь:

1 лайк

Для меня это всегда было загадкой, что означает и за что дают…

Оп-па… заземление корпуса прямое.

image

На 150E этого нет:


Странно. На моей 150Е есть, равно как и на 150MLX.

2 лайка

За то они появились у меня , может продолжим диалог ?

Андрей, если у вас не конкретно к Михаилу вопросы, а по теме столика, то не нужно вам никакое разрешение — задавайте! )

3 лайка

Я привык сам себе на вопросы отвечать, вы можете спокойно изложить своё виденье, никого об этом не спрашивая.
:innocent:

1 лайк

Диалог - беседа двух человек при полном непротивлении сторон :joy:

3 лайка

Вполне возможно, что у меня более ранние версии и как раз отмеченная мною чувствительность так и была устранена производителем.
Кстати, чуть ранее я прозванивал выводы с целью узнать, не соединён ли какой вывод с корпусом — нет, не соединён.
А оказалось, вон чего…

Вспомню ту же “резинку” на ручке MS-9.
Это жжжж неспроста.


В копилку:


2 лайка

Ну вот похоже здесь и “собака порылась”)

1 лайк

Единственная разумная версия. Я немного погуглил по картинкам 150Е, подавляющее большинство с заземлением, но пару картинок без оного мне удалось найти.

1 лайк

В моём случае оно не сработает, мне только пробовать другой шелл, где хороший контакт “байонета” с самим шеллом.
Или самому напрямую корпус соединять.

У меня проводка полностью балансная и ни один из выводов не соединён с землёй, любой из.


Судьба умнее нас — сперва она дала мне интересные “тушки”, а теперь выясняется, что она дала мне те самые тушки…
… и новые знания в итоге.
Для моего баланса мне бы пришлось перекусывать это прямое заземление корпуса от возвратного аудио-вывода.

У Эмпаеров также, только скобка еще и съемная. Некоторым пригождалось петлю разрывать на старинных тонармах.

4 лайка

Спасибо за понимание. Я приглашаю к обсуждению всех , кому интересна данная тема.
Для общего понимания хочу сразу оговориться , что всё написанное здесь и сейчас всего лишь анализ , основанный на данных производителя . К сожалению не смог найти патент на МР технологию NAGAOKA ,возможно он ещё в доработке.
Объясню , почему такое внимание . Зная отношение к патентному праву , возникает масса вопросов к производителю.
Основной - Как совершенно правильно заметил Михаил пермаллой это и есть light magnetic alloy - чистейший MI .
Почему МР?
2. Схема , то же схожа.
А они твердят
" относится к типу MP (подвижный пермаллой), отличающемуся от обычного типа MM (подвижный магнит) "
Тот же Голдринг

за такое предъявит по полной.
Так почему же этого не происходит ?
Начнём с начала ,слегка утрируя , но это важно !

  1. ММ - подвижный магнит
    Магнит — тело, обладающее собственным магнитным полем. Постоянный магнит имеет два полюса .
  2. MI - подвижное железо ( сплав )
    Временные магниты - действуют как постоянные магниты , когда находятся в сильном магнитном поле , и теряют свой магнетизм , когда магнитное поле исчезает .
    Теперь рассмотрим основное преимущество MI перед ММ - меньше вес подвижной части , меньше инерция .
    Кстати эти же доводы приведены у производителя -" тип MM имеет тяжелый магнит, прикрепленный к кантилеверу. Однако Поскольку тип MP прикреплен к куску железа, называемому пермаллоем, который легче магнита " - ну чистый MI , какой ещё МР ?
    Теперь к сути .
    Давайте рассмотрим схемы ММ и MI , наложив друг на друга.
    В итоге получаем - ПОСТОЯННЫЙ ПОДВИЖНЫЙ МАГНИТ (ММ ) завёрнутый в light magnetic alloy . В итоге ,учитывая свойства временного магнита , очень легко уменьшить вес подвижной части.
    Т,Е, если более маленький ( короткий ) и , соответственно ,лёгкий, чем в классическом ММ постоянный магнит “завернуть” в середину стандартного по размеру пермаллойного ( или любого light magnetic alloy ) “блина” , получаем постоянный сборный магнит - ММ меньшего веса .
    Теперь опять вернёмся к наложенной друг на друга схеме .
    Справедливый вопрос. А что делает верхний постоянный магнит ?
    Для ответа на этот вопрос нужно вернуться к нашему сборному постоянному подвижному магниту , вернее к его КПД . Оно слишком мало . “Карлику” непрерывно приходиться расходовать свой магнетизм на намагничивание пермаллоя , непосредственно контактируя с ним . Т. Е. Даже если вы не используете головку , сборный магнит со временем теряет свои свойства .
    В итоге нужна постоянная " подзарядка " , роль которой ,судя по всему, и отведена верхнему магниту . Возможно именно по этой причине заявленный срок службы очень мал .
    Ещё в пользу данной версии служит сравнительно маленькая с классическим ММ величина динамической податливости МР головок.
    Жёсткий демпфер должен уверенно сопротивляться вращательному движению , создаваемым постоянным притяжением и отталкиванием между полюсами обоих постоянных магнитов .
    Это в общих словах моя версия "разгадки " МР , по которой на мой взгляд в итоге это всё же ММ головка с элементами MI.
    Спасибо. С уважением…
2 лайка

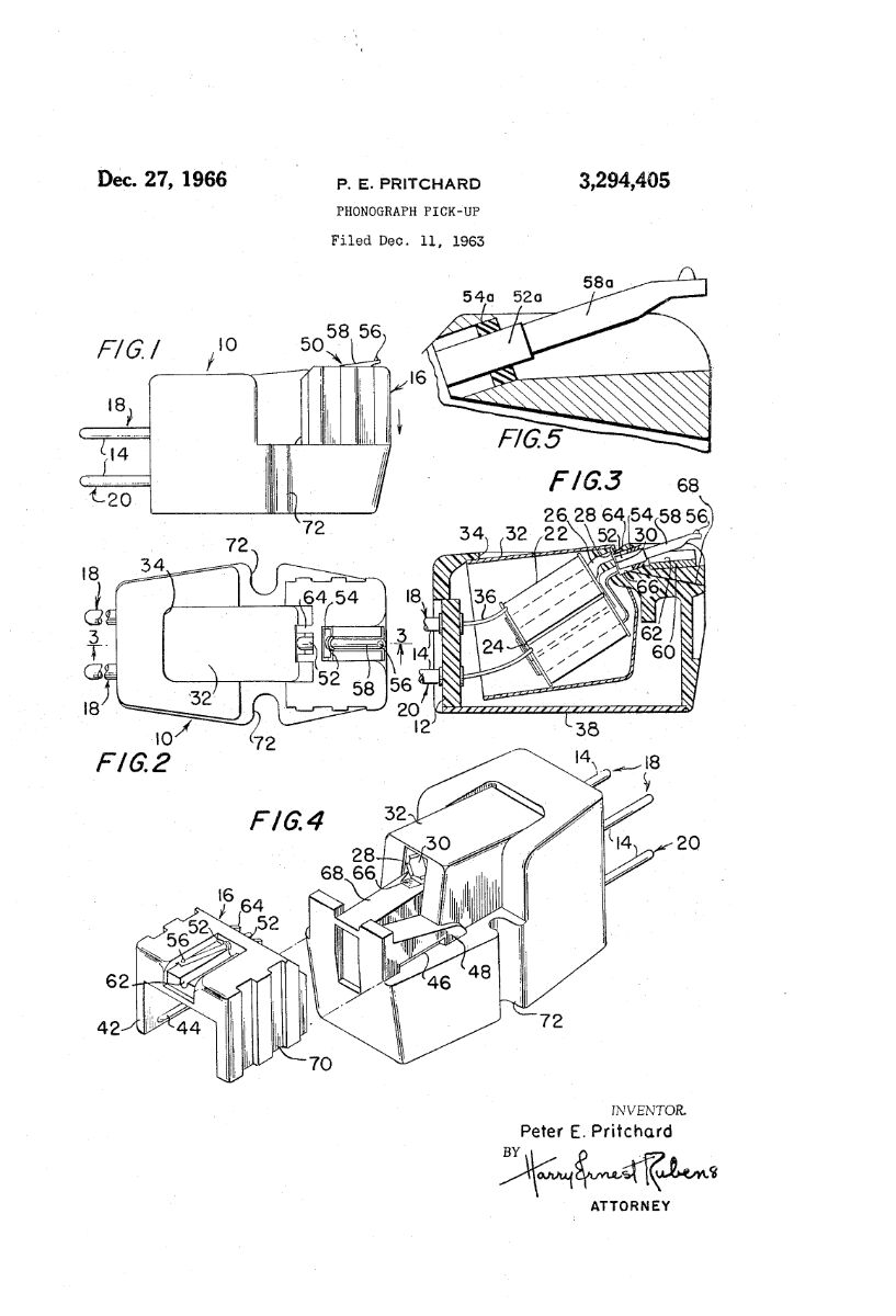
Загадки то никакой нет. Нагаока не придумали сами конструкцию своего картриджа. Они ее украли, или позаимствовали, или спиратили у господина Питера Притчарда, который является изобретателем Moving Iron картриджей, и наиболее известен как разработчик картриджей ADC и Sonus. В частности, любой карт Нагаока является копией ADC 10E. Видимо, замена MI на МР это больше из области обхода патентных прав.

А вот патенты г-на Притчарда в сети имеются и доступны для рассмотрения.

3 лайка