Очень плохо, что формат закрытый. Там кодек сделать для него пол дня работы. Странно, что руновцы тянут. Говорят, что ещё пол года.
Не нашел MQA альбомов Pink Floyd в Tidal
.
А имеет ли смысл приобретать Meridian Exploer 2 для Audirvana 3 если у нее и так есть поддержка кодека MQA ?
В турецком аккаунте есть 2 альбома.
какие?
The Endless River (Deluxe), The Division Bell (HD 24/96)
http://tidal.com/album/68733189
http://tidal.com/album/68735478
Недавно добавили ранние альбомы 1969, 1970 гг. Они тоже есть в MQA. В турецком аккаунте 7.
Для словарика файльщика:
МыКАться - слушать файлы в формате MQA.
MQA он не про качество, а про экономию полосы. Ну и лицензионные выплаты
Какое максимальное качество можно получить без mqa?
Так выводит звук 24/96 и на слух очень хорошо!
Без больших цифр продавать сегодня не серьезно, запинают.
MQA сам по себе кодек, пакующий и распаковывающий с потерями. Не смотря на модность и новизну он занимается кровосмешением - перекидывает некоторые ВЧ частоты в НЧ диапазон и добавляет свою подпись, из-за чего ВЧ несколько подгрызается, но там за дело берется размывание (dithering) и клиент не слышит разницы. Причем его можно упаковать в любой контейнер - тот же FLAC, но если распаковщик не понимает этот кодек, цена за распаковку - отъедание еще 3х последних битов.
Т.е. очередной привет новых технологий - распиареные 96/24 студийные мастеры по факту ими быть перестают и даунсемплятся до “размытых” 48/16 экономя полосу. Ну или до 48/13 если производитель вашего ЦАПа не проплатил свою долю 
Есть какие-то доказательства этому утверждению? Про 16, где-то описано, что 24 режутся?
Звучат мастеры в Тидале лучше чем флак, денег отдельных не требуют; это прокат, а не покупка; обмана нет, често описано что это такое — в чем проблема? Разницы в “потерях” значительно меньше, чем, скажем, при новом мастеринге, или отдельном мастеринге под разные носители, что происходит сплошь и рядом и никого особо не парит, зачем тут переживать?
Хоть и дурной тон, но можете начать с wiki.
Там есть ссылки на исследование алгоритмов, подтверждающие разрешение ниже 16 бит и затрагивающие основы этого формата и его коммерческую составляющую.
Лично много послушал MQA что бы посмотреть даст ли это что-то новое в плане качества перед обычным PCM 44/16, и не нашел ни одного преимущества, кроме как меньшую потребляемую полосу у идущих хай-резов (в теме про Ауралик об этом писал). У MQA есть свой небольшой WOW фактор - его дают те самые размазывание и формирование шума. Но вот хай-рез в реальности дутый.
Описано в Меридиановском патенте
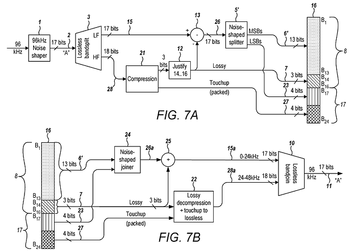
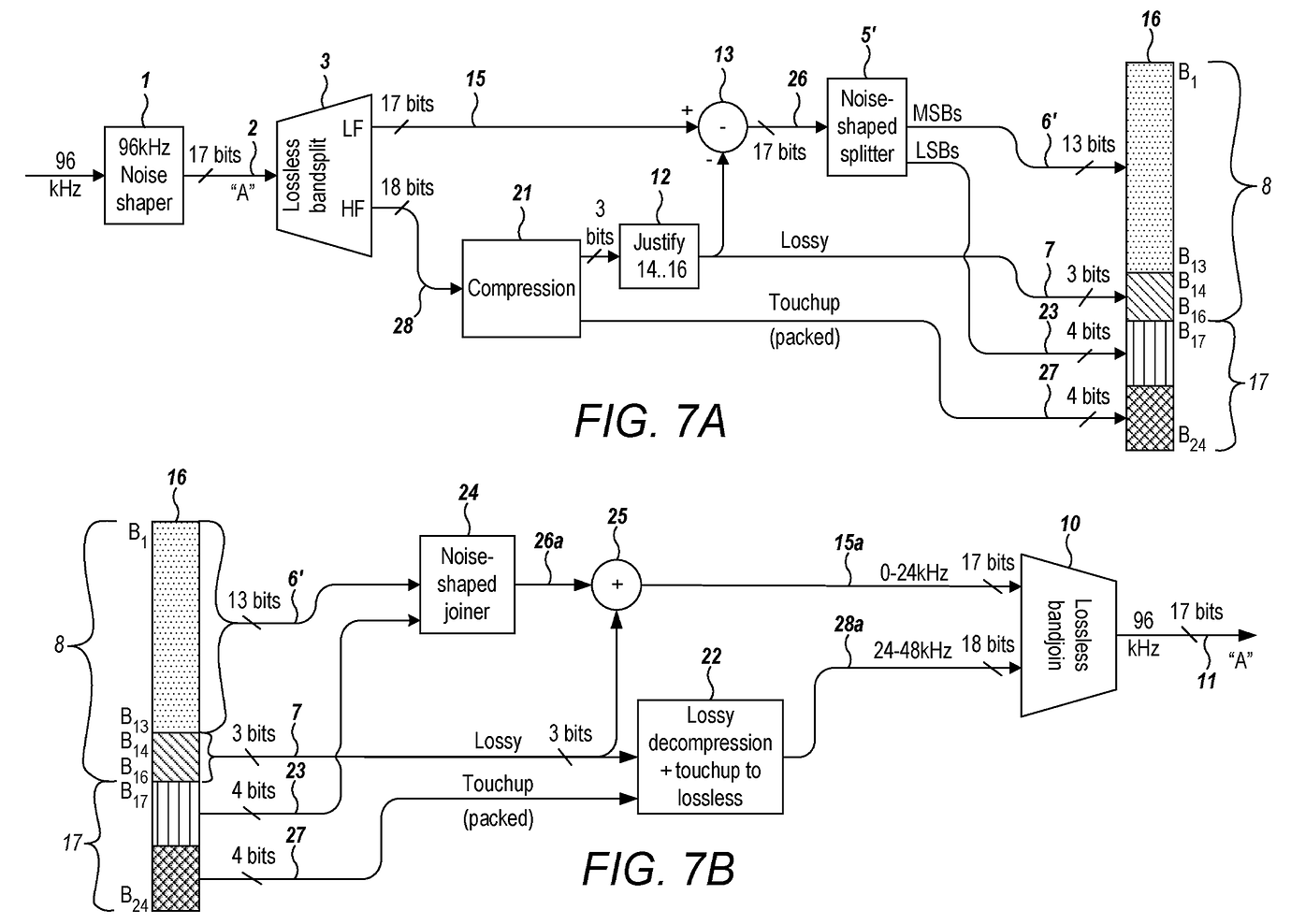
The MQA encoder shown in Fig. 7A accepts a 96 kHz 24-bit input. This 24-bit input is immediately reduced to 17 bits using noise shaped dither (this is a lossy dithered quantization process that adds some noise above 20 kHz). The remaining 17 bits are split into high and low-frequency channels. The split signal is transmitted through a lossy compression system that is augmented by a compressed touch-up channel. If the touch-up channel does not overload, the 17-bit transmission is lossless if decoded as shown in Fig. 7B. But, if the touch-up channel reaches its maximum capability, the system begins to be a lossy 17-bit system. After decoding, a lossless or nearly lossless version of the 17 bit signal is recovered.
Мне сложно понять, как рамазывание и шум могут улучшать читаемость дальних планов сцены, лучшую оформленность КИЗ, например. Не скажу что эффект “вау” (да и не должно вроде как быть, если цап примерно одинаково обрабатывает редбук и хайрез, как я понимаю), но он читаем, для меня он важен/полезен/приятен. Как звучит в других системах не знаю.
Да, спасибо, принято.
Олег, я же не утверждаю что не в коем случае вы не должны его слушать и вам это не должно нравиться? К сведению, на планы и кизы можно очень серьезно влиять фильтрами.
Лишь пишу (с конкретными фактами) что предлагаемый MQA хай рез или как его там называют “студийным мастером”
- сжимается с потерями и фильтруется (т.е. уже априори мастером не является)
- на поголовном большинстве цапов вместо 24 бит на выходе имеем 13
- является попыткой не повысить качество воспроизведения, а заработать денег
Выводы каждый сделает сам.
На планы и КИЗы можно влиять фильтрами, но сложно (если вообще возможно) их улучшить, можно не ухудшить, или видоизменить (но это обычно палится где-то после первичного вау-эффекта).
Что это не мастер и априори не лосслес — очевидно и тут с вами не спорю.
Кроме разбора технической стороны есть и другие аспекты. Например, технически винил тоже лосси формат, причем мастеринг под него явно не щадящий для сигнала. Тем не менее, этот формат многие предпочитают и находят лучше. Но причины могут быть не только в формате или трактах, а банально что на винил готовят мастеринг в чем-то хуже (подготовка под формат), в чем-то лучше (ДД, например), в сумме может восприниматься лучше.
Что отдают под тот же MQA и какие договоренности с лейблами - мы знать не знаем.
Ну это так, ремарки не противоречащие тому что вы пишите. Послушаю на днях чето с пристрастием еще MQA/нет, освежу впечатления, а то давненько без сравнения выбираю MQA если есть оба варианта.
На сундуке всё обсосали про MQA как раз в момент его запуска в TIDAL - пару лет назад.
Вкратце резюме - фактически формат lossy, на выходе имеем 17/96, звучит лучше стандартных 16/44.
С учётом того, что ничего дополнительно платить TIDAL не просит - однозначно мастхэв.
В коллекцию же естественно лучше собирать полноценные 24 битные файлы.
